任正非就注册姚安娜商标事件进行道歉:为防恶意抢注
2月3日深夜,微博话题#任正非就华为注册姚安娜商标道歉#引发讨论。
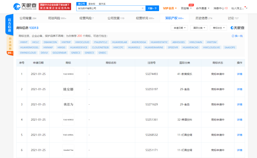
据报道,华为在内部论坛“心声社区”中就注册商标一事发布了相关说明,任正非在华为内部心声社区就注册姚安娜商标事件进行道歉。
声明称,“社会上有些公司或个人恶意抢注姚安娜商标,我们不得为之”。

说明中提到,姚思为是任正非女儿,姚安娜是她的艺名。“社会上有些公司或个人恶意抢注姚安娜商标,我们不得为之。若自己不注册,商标会被持续的恶意抢注,有许多不利的地方。”

1月14日,天浩盛世娱乐官方微博发出消息,宣布姚安娜加入旗下,并正式出道进军娱乐圈。1998年姚安娜出生于云南,是华为创始人任正非和第二任妻子姚凌生的孩子。
在上述说明中提到,根据中国商标法的规定,中国大陆公民必须用公司名义或持有个体工商营业执照才可申请注册商标,姚安娜刚毕业,还没有注册自己的公司。因此,任正非委托知识产权部代理注册,以后再转让给姚安娜的工作室,费用由她支付。
此外,说明中强调,任总是第一次公权私用,为此向全体员工道歉。
此事引发网友激烈讨论,有网友表示: 再厉害的人也有软肋,当爹不容易!任正非史无前例的道歉了,其原因让人听了不免心酸,因为这是他第一次公权私用,一切都是为了保护自己的小女儿。
也有网友表示不解,“为父之心可理解,但因华为背景,不可接受。”
关于公司代理姚安娜商标注册的几点说明:
1.姚思为是任正非女儿 姚安娜是她的艺名。
2.社会上有些公司或个人恶意抢注姚安娜商标。我们不得为之。若自己不注册,商标会被持续的恶意抢注。有许多不利的地方。根据中国商标法的规定。中国大陆公民必须用公司名义或持有个体工商营业执照才可申请注册商标。姚安娜刚毕业,还没有注册自己的公司。因此。任总委托知识产权部代理注册,以后再转让给姚安娜的工作室,费用由她支付。
3.任总是第一次公权私用,为此向全体员工道歉。

