成都市广播电视台就《谭谈交通》节目著作权发布声明

此前报道
《谭谈交通》下架事件,谭sir会赔得裤子都没吗?
近日,“谭谈交通全面下架”“谭乔自曝或面临牢狱之灾”成为热搜话题,相关事件引发广泛关注。
事件的发酵,源于7月10日《谭谈交通》主持人谭乔发布微博称,正在外面拍安全宣传视频,惊闻《谭谈交通》被下线,并可能面临数千万的巨额赔偿。拍摄的公益普法视频视频,十几年来在网络上被大家无偿观看和二创传播,他最后可能赔得裤子都没了。
《谭谈交通》缘何被下架?事件涉及的当事方都有谁?起诉多家平台侵权的公司是啥背景?

图片来源:谭乔微博
目前B站上相关视频被强制下架
谭乔向中新财经表示,目前B站,所有的二创UP主,或者剪辑转发,任何有关《谭谈交通》视频的UP主都被强制下架,理论上都不能再发布《谭谈交通》的片段、剪辑、音频,或者评论等等。
谭乔认为,“B站清理完毕以后,作为成功的案例,对方会一个平台、一个平台地进行清理。”
据了解,谭乔在B站上发布的视频已经从300多个缩减到了80个。此前,广为人知的“二仙桥大爷”视频播放量超过2000万,现在也已在B站下架。目前,谭乔B站账号上播放量最多的是“《梗王之王》多少梗”视频,播放量超过1000万播放。
可能面临赔偿的两个原因
而对于他本人面临的赔偿,谭乔表示,面临赔偿的第一个原因是游术公司投诉他侵权。面临赔偿的第二个原因,就是有一些商业的合作,他个人面临的无法正常履约,而导致的一些赔偿。
谭乔认为,目前《谭谈交通》谁是版权方,或者谁拥有多少比例的权益,还需要权威的机构来认定。“当初制作《谭谈交通》,没有任何个人或者任何机构签订了这种合同或者协议。那原创者就是我谭乔自己,而且这个视频记录方他就是一名摄像的记者。”

图片来源:谭乔微博
“合情、合理、合法的情况下去解决”
谭乔表示,他很想搞清楚在新著作权法实施以后,他是否享有应当的权利,而视频记录的另一方,是否可以向他或者其他的创作者进行索赔。
谭乔同时表示,他看到有很多法律界的朋友,觉得这是新著作权法实施以后第一个独特的、有意思的案例。“如果能够通过我的遭遇向大众普及著作权法,我觉得很有意义。”
谭乔也表示,“一切都应当合情、合理、合法的情况下去解决。”
而对于未来,谭乔表示,以后还是会继续做《谭谈交通》宇宙的相关内容。他一直关注在这个时代下最普通的、个人的安全生活悲喜际遇,这是一个很有意义的事情。
《谭谈交通》下架事件中的公司啥背景?
谭乔口中的游术文化传播有限公司,天眼查APP显示,涉事公司“成都游术文化传播有限公司”成立于2018年,法定代表人为张宇航。
该公司经营范围包括:教育管理;教育信息咨询;(不含教育培训及课外辅导服务);企业管理咨询;组织文化艺术交流活动;会议及展示展览服务;广告设计、制作、代理发布(不含气球广告及固定形式印刷品广告);房屋中介服务;市场调查;知识产权服务,等等。
成都广播电视台称授权给当事公司“于法有据”
据上游新闻报道,7月11日,知情人士称,向各视频网站主张版权、要求节目下架的成都游术文化传播有限公司,已经从成都广播电视台获得了《谭谈交通》的节目版权,“维权于法有据”。
成都广播电视台相关负责人回应称,电视台长期以来没有对《谭谈交通》节目主张版权权利,“并不代表着任何个人可以随便侵权”。
游术文化公司已起诉十余个平台侵权
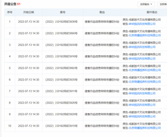
天眼查显示,目前成都游术文化传播有限公司“起诉他人或公司的开庭公告”共有61条,B站、抖音、咪咕、小红书、爱奇艺、腾讯、快手、百度、搜狐、乐视网、优酷、华为等均成为被告。
另外,目前该公司共有86个侵害作品信息网络传播权纠纷相关案件。其中,与上海宽娱数码科技有限公司(B站)相关侵害作品信息网络传播权纠纷有31个同系列案件;与北京快手科技有限公司相关侵害作品信息网络传播权纠纷有9个同系列案件;与咪咕视讯科技有限公司(咪咕)相关侵害作品信息网络传播权纠纷有7个同系列案件。

截图自天眼查。
该公司还与百度在线网络技术(北京)有限公司相关侵害作品信息网络传播权纠纷则有6个同系列案件;与北京微播视界科技有限公司(抖音)相关侵害作品信息网络传播权纠纷有5个同系列案件;与行吟信息科技(上海)有限公司(小红书)相关侵害作品信息网络传播权纠纷有5个同系列案件;与腾讯科技(北京)有限公司相关侵害作品信息网络传播权纠纷有3个同系列案件;与北京爱奇艺科技有限公司相关侵害作品信息网络传播权纠纷有2个同系列案件。
中新财经尝试联系该公司,但截至发稿时联系电话仍无法接通。
《谭谈交通》是什么?
公开资料显示,《谭谈交通》是成都本土一档寓教于乐的交通警示类节目。因为其贴近大众的节目特色和诙谐幽默的主持特点,赢得了成都市民的一致好评。一个宣传交通法规的专题节目,成了成都电视台一个非常受欢迎的节目。其中很多期经典节目,在全国各大电视台转载,受到了热烈的关注。
《谭谈交通》在开播的十三年里(2005年至2018年),创造了很多经典的段落。“去二仙桥要走成华大道”的“二仙桥大爷”,把“投”共享单车说成“偷”共享单车的“二仙桥大爷”歪侄儿,因普通话不标准而被当成“韩国人”的福建人,练过“腰马合一”的河南小伙、在马路边进行“高端访谈”的吕老板等人物,都给广大网友留下了深刻。
同时节目中,生活不易但始终乐观“往前看”的“福贵大爷”,身上背着大批货只为赚十块钱的老人,同样令观众动容。
(正观新闻综合红星新闻、中新财经等)