设计、结构高度一致,绿控传动变速器总成被指抄袭法士特

作者丨陈欣
出品丨鳌头财经
“绿控将紧抓机遇,以创新为驱动、以质量为根本、以协作为纽带,不断夯实行业的领先优势,不断提升客户的体验价值;上下同心聚势向上,共同绘就壮美新画卷。”

“在研发投入方面,公司将始终坚持以创新为第一驱动力。”
上面两段话中,第一段是绿控传动董事长、总经理李磊寄语公司员工用来激励员工,第二段是正冲刺创业板IPO的绿控传动写在招股书中的一句话。
两段话均要求公司“以创新为驱动”,如今看来似许有些讽刺意味。
近日,陕西法士特齿轮有限责任公司(以下简称“法士特”)向鳌头财经发来《关于苏州绿控传动科技股份有限公司涉嫌抄袭我公司控股企业产品的情况说明》,直指绿控传动旗下型号为J8S260A变速器总成涉嫌抄袭法士特8DS260A变速器总成。
这份超过1.3万字的情况说明中,法士特介绍,公司对绿控传动J8S260A变速器总成进行拆解,发现其在整体技术路线,内部零件结构、以及零件实际测量结果等方面与法士特8DS260A变速器总成高度相似,称“这是赤裸裸的专利抄袭”。
法士特介绍,公司已向深交所提交举报函,对绿控传动相关事实一一阐明。
3月15日,鳌头财经向绿控传动发去采访函,但截至发稿,尚未收到回复。是“好的设计总是心有灵犀”,还是真的抄袭,我们将对事件的进展进行追踪报道。
二度IPO转向创业板
绿控传动成立于2011年,是国内新能源商用车电驱动系统的领军企业之一,以电驱动系统相关技术创新为基础,向客户提供电驱动系统、零部件及相关技术开发与服务。
2022年末,绿控传动曾在科创板递表并获得受理,保荐人同为中金公司。次年1月,公司进入问询阶段,但3月撤回了上市申请,原因系“自身业务及未来发展考虑”。
2025年12月,绿控传动“卷土重来”,这次公司IPO的目标换成了创业板。同时,公司的募资金额也从当初的10.72亿元大幅提升至15.8亿元。
最新动态显示,绿控传动处于“已问询”状态,2026年3月12日晚间,公司对外披露了首轮审核问询函回复。

正在绿控传动二度IPO时,法士特向鳌头财经反映称,绿控传动J8S260A变速器总成涉嫌抄袭公司旗下企业法士特的8DS260A变速器总成。
法士特是国产变速器行业的龙头企业之一,拥有着稳定且可靠的研发实力。
法士特介绍,2024年经市场售后反馈,绿控传动出售的型号为J8S260A变速器总成在维修过程中发现内部存在印有法士特商标的零件,并且该型号变速器总成结构上与法士特8DS260A存在高度雷同之处。
“为了保护法士特公司的知识产权及合法权益,公司通过售后市场先后购买4台绿控J8S260A变速器总成进行对比分析。”经过综合分析对比,法士特发现,绿控J8S260A产品与法士特8DS260A在整体参数比较、核心结构、几乎全部零件设计、功能实现等全方位存在高度一致性,其设计特征的重合度已远超合理设计空间的范围,且差异仅为壳体外观筋条略有调整、常规的优化或齿轮材料的选择等非功能性差异。
“法士特8DS260A于2017年进入市场,绿控J8S260A于2023年进入市场,法士特8DS260A产品更早量产。因此绿控J8S260A存在高度抄袭嫌疑。”法士特认为。
法士特表示,创业板设立的根本目的是促进科技创新,为真正的原创性、创新性企业提供融资平台,但从绿控传动的此行为来看,其不具备技术原创研发的能力,更无创新研发的意愿,只是涉嫌通过非正当手段省去研发成本,攫取短期市场份额和营收数据,这与创业板的设立目的相悖,更与国家鼓励自主创新、科技强国的政策导向相悖。
从数据对比上看,绿控传动研发投入比例正逐年下滑,2022年至2024年及2025年上半年,公司研发投入占比分别为7.77%、6.19%、5.79%和4.14%,远不及2020年18.29%的峰值。
两款产品各方面高度相似
绿控传动J8S260A到底如何“抄袭”法士特8DS260A?
从专利比对来看,基于8DS260A产品,法士特自2014年至2023年总计申报了一篇发明专利和11篇实用专利,并获得相关授权。所持有的发明专利《一种8档专用车变速器》,申请号CN201611132268.6,授权号CN106641127B,对该款产品结构进行详细说明和保护。
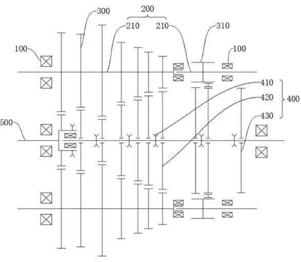
通过对售后市场购买的绿控J8S260A变速器进行拆解,并查找绿控相关专利,法士特发现其总成结构符合绿控所持有的实用新型专利《一种中间轴总成、变速箱及传动系统》,申请号CN202421073430.1,授权号CN222277445U专利。

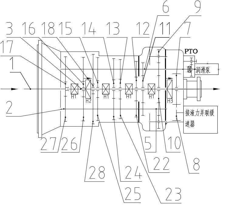
8DS260系列变速器结构示意图

CN222277445U说明书附图
法士特表示,从产品拆解结果以及绿控对其J8S260A产品申报的CN222277445U说明书附图可以判断:J8S260A与法士特8DS260A的总体布局、各挡齿轮以及滑套的位置排布、分段式中间轴总成结构完全相同,绿控J8S260A完全是对法士特8DS260A产品和专利的抄袭。
为了进一步确认情况,技术人员对法士特8DS260A以及绿控J8S260A总成产品进行拆解比对,并对总成、分总成及关键零部件的结构和关键尺寸进行了测量分析。
实物外观比对显示,两款产品内部核心零件外观基本一致,甚至存在相同商标和零件号的零件。

举例来看,绿控J8S260A变速器壳体结构和各关键尺寸相同,仅加强筋、观察油孔位置及大小、底漆不同;缓速器支架结构完全一致,各关键尺寸相同;仅商标和底漆有差异;上盖壳体结构完全一致,各关键尺寸相同,各拨叉孔距均为36.56;仅除商标和底漆不同。
技术人员得出的结论是:对核心零部件外观进行对比,发现两款产品核心零部件外观差异极小,其中绿控J8S260A二轴、缓速器拨叉等零件直接使用了法士特零件,零件表面打有法士特商标。两款产品各挡位拨叉外观一致,绿控J8S260A各挡位拨叉在法士特标注零件号相同位置进行了打磨处理。
结构和外观高度相似外,两款产品的也整体技术参数也极为接近。

绿控J8S260A和法士特8DS260A均用于非道路宽体矿用车,从1档至8档、倒挡速比均为6.73/4.61/3.40/2.52/1.86/1.35/1/0.75/6.25(倒),产品长度也都是1103mm。
唯一稍有不同的是,绿控J8S260A重量为562.5公斤,法士特8DS260A为570公斤。

值得注意的是,在官方网站上,绿控传动也列出了J8S260A的主要参数,与所测大体相当。
此外,技术人员对中间轴总成结构、二轴总成结构等进行了全方位的对比,发现两款产品高度相同,甚至可以互为零件。
法士特愤慨地表示,研发是一项需要投入大量人力物力的长期事业,除了金钱方面可明确度量的投入,还需配套大量隐形的、难以度量的管理投入,而绿控涉嫌通过抄袭节省研发成本,然后在市场上通过超低价销售,带来内卷式竞争,严重挫伤了自主创新从业者的创新积极性和内生动力。
正向研发企业的创新成果被直接窃取,创新价值无法在商业活动中获得正常合理的反馈和收益,长此以往将无力持续开展新的研发和创新,对于行业的健康可持续发展造成根本性破坏。
3月15日,鳌头财经向绿控传动发去采访函,但截至发稿,尚未收到回复,鳌头财经将对此事进行持续关注。

