背靠IDG、宁德时代等知名机构,估值超宇树,银河通用否认IPO


作者 | 赵栀
编辑 | 趣解商业资讯组
近日,据“腾讯财经”报道,国内人形机器人独角兽银河通用正在筹备赴港上市。接近银河通用的知情人士表示,银河通用上市已经筹备数月,预计明年一季度交表,“最快一月可能交表”。
天眼查信息显示,11月27日,银河通用完成股改,市场主体类型从“北京银河通用机器人有限公司”变更为“北京银河通用机器人股份有限公司”,企业类型从有限责任公司变更为股份有限公司(外商投资、非上市)。股改通常被视为企业上市的重要前期动作。

图片来源:天眼查截图

图片来源:微博截图
银河通用成立于2023年5月,是国内
银河通用联合创始人、北京大学助理教授王鹤是公司的灵魂人物之一。王鹤2014年从清华大学获得学士学位,并于2021年获得斯坦福大学博士学位,随后加入北京大学,开展具身智能领域的研究。2023年5月,王鹤与师从北航机器人研究所王田苗教授、曾就职于ABB集团上海机器人研发中心的姚腾洲联手,在北京共同创立银河通用。
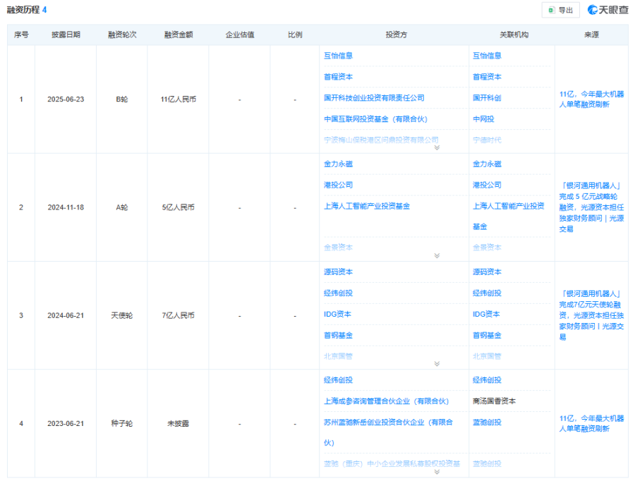
天眼查显示,成立至今,银河通用共获得了4轮融资,投资方包括宁德时代、启明创投、北汽产投、招银国际资本、IDG资本等,累计融资金额超过20亿元。其今年6月的总额高达11亿元的融资,曾刷新具身大模型机器人领域单笔融资纪录。

图片来源:天眼查截图
据媒体报道,银河通用机器人的估值已攀升至170亿元。对比公开信息,这是中国市场上估值最高的一家具身智能公司。
产品方面,目前,银河通用推出了一款人形机器人产品Galbot G1,围绕着在工业、零售、服务业等场景的核心需求出发,主打技能是移动、抓取、放置等;以及具身抓取基础大模型GraspVLA、端到端具身大模型GroceryVLA、产品级端到端导航大模型TrackVLA等。
商业化落地方面,银河通用Galbot G1机器人已在智慧零售领域应用,在北京部署了多家无人店铺,执行商品盘点、补货、取送、打包等全流程自动化作业;与美团合作落地了智慧药房。银河通用还与博世集团旗下博原资本共同成立合资公司,将聚焦工业制造场景,共同推动具身智能机器人的商业化应用探索和全球市场落地。

图片来源:罐头图库
不过,随着行业洗牌的加速,银河通用面临的市场竞争压力并不轻松。
人形机器人赛道如今正处于集中资本化的关键阶段。宇树科技目前IPO辅导状态正式更新为“辅导工作完成”,预计将于近期在科创板交表。智元机器人曾被曝赴香港上市,尽管智元多次予以否认,但其在2025年11月同样完成了股改。另有数家人形机器人产业链公司正在筹备赴港上市,包括乐聚机器人、乐动机器人等;云深处科技和傅利叶智能也已完成股改。
另一边,2025年被视为机器人“量产元年”,供应链的竞争正成为左右市场格局的关键。随着人形机器人逐步实现量产,在技术趋于成熟的背景下,成本下降的速度将直接影响企业的市场份额。在此背景下,能否在控制成本的同时形成差异化竞争力,将成为企业突围的新赛点。
