众安保险孵化的“百保君”爆雷?公司人去楼空,涉及金额或上亿


编辑 | 趣解商业资讯组
近段时间,关于“百保君爆雷”在社交媒体上持续发酵,一位百保君用户对媒体称,“7月至9月之间购买的权益,全都不返还京东卡了。”

图片来源:微博截图
据媒体报道,一个200多人的“百保交流群”。群内,不断有用户发问到底如何领卡。比如其中一位用户就表示:“怎么办?只给发了8张卡,还有42张卡无法提取。”
这样的交流不只在这一个群里出现。在另一个近百人的百保交流群中,有人回应说,平台9月底更换了供应商,更换完供应商就会恢复正常领取节奏。但更多人的猜测是——“平台跑路了”。
百保君母公司百保(上海)科技有限公司(以下简称“百保科技”)官网披露办公地点——上海市申长路588号虹桥绿谷广场B座的物业人员称,“早就搬走了”。前台接待处的工作人员告知,百保科技在9月份房租到期后就搬走了。
“趣解商业”注意到,黑猫投诉平台上,截至11月17日,共有41条投诉中包含搜索词“百保君”。其中多条涉及返现卡不履约、京东卡不发放。
11月13日,一消费者投诉称,“我于2025年8月16日,9月18日购买百保君平台住家护理430保障版保险权益,共计20份,总金额8600元,近期发现其他购买者遇到到期无法兑现平台承诺的相关权益,现联系客服询问,客服没有声音,查看平台退款通知,得知本金不能全退,所得利润按5折兑现,私吞客户资金,现希望平台能将我的本金退还”。

图片来源:黑猫投诉截图
据“每日经济新闻”报道,目前,“百保君”小程序上的多项权益产品“已售罄”。联系“百保君”小程序客服后,对方发出自动通知称:“目前(是)平台权益产品调整期,已到期及未到期权益产品统一退款处理,退款方案及页面说明会尽快公布。”
有消息称,百保君法定代表人李雪峰已被警方带走调查,涉案金额或超亿元。有媒体就此向相关方求证被告知,“目前该案件处于侦查阶段。”

图片来源:微博截图
百保君是百保科技旗下平台,其官网信息显示,百保君于2020年10月由众安科技孵化成立,是一家做广告、卖“流量”的公司,帮助消费者找到保障顾问,帮助团队获客。
其近期业务模式为销售权益产品并返还京东卡。比如,售价89元的权益,到期返还100元京东卡,同时还有丰富的积分,积分可以提现或兑换京东卡。对于用户来说,这几乎是无风险套利。
有律师表示,从法律角度看,这已脱离正常保险增值服务范畴,实质构成变相吸收公众存款,涉嫌非法集资或集资诈骗。
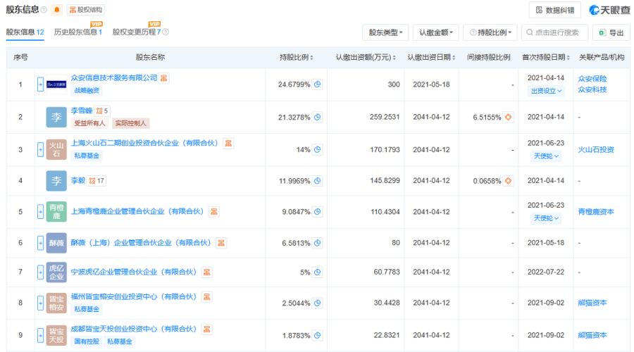
天眼查显示,该公司成立于2021年4月14日,注册资本1215.5664万元,实缴692万元,法定代表人为李雪峰,2024年的参保人数为8人。
至2022年3月,已获得4轮融资,投资方包括众安保险、火山石资本、熊猫资本、共识资本。
众安信息技术服务有限公司(即“众安科技”)为其第一大股东,持股比例为24.6799%,其次为李雪峰,持股比例为21.3278%。用户对媒体表示,之所以放心购买,看中的就是众安的品牌背书。

图片来源:天眼查截图
百保君高额返利“爆雷”事件后,众安保险回复称,旗下子公司众安科技已转让百保君运营方百保公司全部股权。
众安保险表示,百保公司法定代表人、实控人为李雪峰,“众安科技”以无形资产评估作价投资,但未参与实际经营管理。百保公司自2023年起不再反馈经营情况,众安科技已于2024年决定退出百保公司,并于2025年5月与百保公司其他股东签署了股权转让协议,转让了持有的全部股份。
“近期,我司接到百保用户反馈后了解到该事件。据了解,公安机关已经立案调查,目前处于侦查阶段。我司同属受害者,正持续关注案件调查情况。”众安保险称。
