当美白功效遭质疑,参半的品牌故事该如何讲下去?


作者 | 郝文
编辑 | 趣解商业资讯组
双十一购物节战况正酣,各路品牌销量激增。然而,口腔护理品牌参半主打的牙齿美白功效却受到消费者质疑,今日,“有用户投诉参半牙膏美白无效”的话题在网上引发关注。

关于参半牙膏的使用体验,一直有着不一样的声音。社交平台上,有些用户用下来觉得真心不错,说自己才用了两天,就能明显感觉到效果,还有人特意拍了效果图,从图上看,牙齿确实比之前白了一些。有人用了将近三个月,某天翻相册时突然发现,牙齿整体比之前白了不少。
不过,也有不少人持相反意见。有用户在社交平台直言,自己轻信了夸张的广告宣传,兴冲冲下单后,坚持早晚使用 10天,牙齿美白去渍效果“毫无改变”。还有用户表示产品“一点用没有”,甚至使用后牙齿反而变得越来越不舒服。
黑猫投诉平台上,共有379条投诉中包含搜索词“参半”,其中多条与美白效果有关,“商家虚假宣传牙膏三天美白,用一个月啥效果没有”;“商品包装及直播间均宣传3天美白,使用完两罐均未达到宣传效果”。

大家的争议点很明确,就是真的能否实现“3天美白提升217%”的宣传。
“趣解商业”注意到,早在2023年,参半牙膏宣传的美白效果就曾引发争议。“广东省化妆品质量管理协会”曾就一款宣称能深度去渍的名为oralshark参半口腔鲨鱼的美白牙膏询问参半旗舰店客服,其客服表示,没有权威的临床评价报告和实验室评价报告。
但是,对于宣传效果,抖音客服表示,页面宣传的 “3天美白”效果,是经过第三方权威机构检测得出的结论,但每个人的口腔环境、饮食习惯不一样,具体用起来的效果自然会有差异,而且牙齿变白不是一下子就能实现的,得慢慢积累,通常坚持用才能看到更明显的变化。
产品的销售页面,确实有检测报告,但具体检测内容却很难看清。只是有大字写着“相较于对照组,使用一次后美白去渍提升170%,3天美白去渍提升271%具有美白去渍的功效。”

而在产品的网络销售页面上,“效果因人而异”的提示说明,只用浅色字体放在了最下方,很容易被用户忽略。
有律师表示,从消费者的角度来看,这种具体的功效宣称会对其购买决策产生重大影响,消费者往往是基于这些明确的功效承诺才选择购买产品。这类宣称属于对功效的具体量化表述,需要有相应的科学研究、检测数据等作为支撑。“如果商家无法提供充分的证据来证明这些功效的真实性和准确性,那么即使在瓶身或宣传页面上备注‘效果因人而异’,也不能免除其虚假宣传的责任。”
有业内人士指出,普通牙膏与功效型牙膏的核心区别在于临床验证。宣称防龋、抑制牙菌斑、抗牙本质敏感等功效的牙膏须按规定进行相关实验验证,宣称功效应与实验验证报告相一致。且需要在备案信息平台公示功效依据摘要。
就当前牙膏乱象,行业协会应制定牙膏及口腔护理用品广告宣传的行业规范和标准,明确广告宣传的内容、形式、用语等要求,为企业提供清晰的指引。同时,组织企业开展培训和学习活动,提高企业对法规政策和行业规范的认识,增强企业的自律意识。
参半官方账号介绍,品牌创立于2018年,目前,产品矩阵已覆盖牙膏、牙刷、漱口水、口腔喷雾、口腔清洁工具等多类目,目标群体覆盖儿童、年轻人、中老年人等。今年上半年,参半在国内线上牙膏市场持续领跑,在线下更是迎来逆势增长,市场份额、销售额同比增速位列线下市场牙膏TOP10品牌之首。
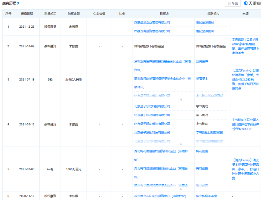
天眼查显示,成立至今,参半母公司深圳小阔科技有限公司共获得了9轮融资,已披露融资金额超过4亿元,投资方包括创新工场、字节跳动等一众知名机构。

参半能从行业崛起,并屡屡打造出爆品,与营销手段有着直接的关系。在推广方式上,参半有着极其立体化的流量打法,企业非常擅长借助小红书和抖音KOL,将产品推广到各大互联网平台上,与抖音等平台推出大量推广视频,进行覆盖式宣传。今年5月,参半还官宣歌手华晨宇为品牌代言人。
在2021年中期,参半的负责人张轶在接受采访时透露,参半的营销费用比例在50%以上。作为一个重金营销砸出来的新锐网红品牌,参半的这种流量打法同样引发了争议。
参半凭借差异化定位与营销攻势,虽迅速跻身行业前列,但此次的美白功效争议,无疑为其敲响了警钟。对参半来说,若想维持市场增长、留住用户信任,不能只靠营销吸引流量,更需在产品效果的可验证性、宣传内容的透明度上多做文章,让消费者“买得放心、用得安心”。
