马化腾、雷军加持的丁香园,要赴港上市了?


作者 | 郝文
编辑 | 趣解商业资讯组
近日,据“IPO早知道”报道,数字医疗健康科技企业丁香园正筹备赴港上市,最快今年正式向港交所递交招股说明书。

图片来源:微博截图
最早可追溯至2000年的丁香园从BBS论坛起步,彼时的定位是一个为医生提供学术交流的平台;2007年前后,丁香园开始商业化运营,曾陆续尝试过招聘、To B电商、营销解决方案等业务模式。 截至目前,丁香园已服务上亿大众用户,并拥有超900万专业用户,占全国卫生技术人员的80%,其中包含超405万医生用户,覆盖全国超过90%的医生。 当然,除了为医生提供学术交流和临床支持外,丁香园在C端更大的知名度还是在于通过微信、抖音、视频号等大众平台,将专业的医学知识传递给公众。
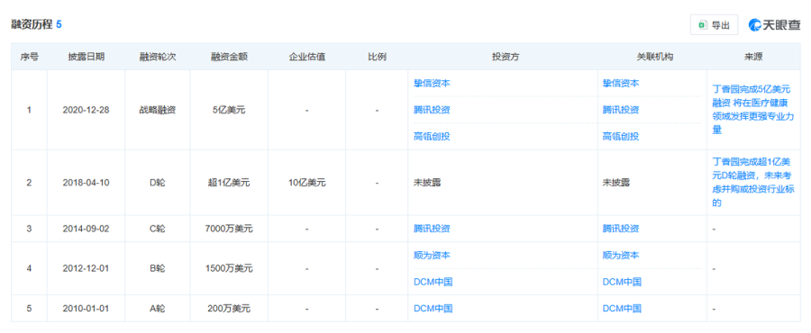
“天眼查”APP显示,成立至今,丁香园母公司观澜网络(杭州)有限公司共获得了五轮融资。
2010年丁香园完成A轮融资,由DCM中国投资200万美元,并入驻杭州高新区(滨江)获得杭州市政府设立的创投引导基金投资;2年后丁香园再次获得B轮融资,公司增资至1500万美元,B轮融资由雷军旗下的顺为资本领投,DCM跟投。
2014年9月,腾讯投资斥资7000万美元帮助丁香园完成C轮融资;2018年,丁香园宣布完成D轮融资,本轮融资金额在1亿美元以上,投资方未透露。融资完成后,丁香园估值达到10亿美元,正式跻身独角兽公司之列。
2020年,丁香园宣布完成5亿美元(约合人民币32.67亿元)融资,本次融资由挚信领投,腾讯、高瓴创投两家机构跟投。

图片来源:天眼查
由于丁香园已经完成多轮融资,“丁香园是否打算上市”也受到市场人士的关注,2020年,其创始人、董事长李天天曾表示,“丁香园自我造血能力较强,BU业绩增长和盈利能力稳健,对资本的需求并非特别强烈,而且前几轮投资都是大的投资机构,投资人对医疗保持敬畏之心,持续看好医疗领域,非常信赖丁香园。所以,上市是过程而非结果。”
目前,港股成交火热,药企也正加速“跑步”进入港股市场。据“中国证券报”统计,今年以来15家生物医药及医疗健康行业相关企业已经在港交所成功上市,目前还有36家生物医药及医疗健康行业相关企业向港交所递交了招股书。
港股药企上市热潮为丁香园营造了一个“天时地利”的大环境。它不仅能借此东风获得更高的关注度和更合理的估值,更能与产业链上下游的上市公司深化合作,为其核心业务带来增长动力。

图片来源:罐头图库
但这也意味着丁香园并非资本关注的唯一标的,它需要在众多寻求资本支持的同类企业中脱颖而出,向市场证明其独特的核心竞争力和更大的增长潜力。
而从丁香园本身来看,互联网医疗行业一直面临着商业模式探索困难的问题,如何持续保持盈利增长,并且让投资者认可其商业模式,仍是一个挑战。
再加上,随着数据安全和隐私保护法规的逐步完善,企业在信息管理上需要投入更多资源,以有效保护客户数据。丁香园作为拥有大量用户医疗健康数据的平台,数据安全管理的压力较大。
此外,医疗健康领域竞争愈发激烈,丁香园面临着来自京东健康、阿里健康等强大竞争对手的压力。这些竞争对手在市场份额、用户基础、资金实力等方面都具有一定优势。这意味着,丁香园需要在服务质量、技术创新和患者体验等方面突出自身特色,才能应对激烈的市场竞争。
截至发稿,丁香园未就网传赴港上市的消息进行回应。作为国内数字医疗健康科技领域的头部玩家,丁香园若启动上市进程,无疑将为行业注入新的活力,也为自身发展打开更大空间,但其面临的挑战也不容忽视。正如李天天所说的,“上市是过程而非结果”,如何借此东风,在商业价值与社会价值之间找到更优解,将是其上市后需要持续书写的核心命题。
 
                    