“汇源100%”果汁、今麦郎“1桶半”、“壹号土”猪肉……擦边的商标,你们知道多少?
2026年央视“3·15”晚会落幕,工业双氧水漂白食品、三无医美产品、家电维修乱象等典型案例引发全民关注与避坑热潮。
而在晚会集中曝光的重灾区之外,一类隐蔽性更强、覆盖日常消费全场景的消费纠纷,正成为消费者投诉的高频痛点:近日,有消费者向记者反映,不少商家利用商标注册规则,在商品包装上通过词汇拼接、排版设计玩起“文字游戏”,潜移默化地误导消费决策。
消费者的困惑:“0添加”,是品质承诺还是商标设计?
郑州市民张女士的遭遇,是这类纠纷的典型缩影。
近期她在社区超市选购酱油时,被包装上醒目的“千禾0添加酱油”吸引,同时也心生疑问:包装上最显眼的“0”,到底是产品的零添加承诺,还是商标的一部分?
随着健康消费观念深入人心,“0添加”成为食品消费核心卖点,也让不少商家在商标布局上动起了心思。2025年3月,千禾味业旗下产品检出镉成分的舆情,叠加市场对其“千禾0”商标与“零添加”概念绑定的争议,相关话题引发全网讨论,品牌消费信任受到冲击。千禾味业随后发布说明,称“千禾0”商标是为区分旗下零添加与含添加剂产品线,不存在误导行为,并在2025年9月完成产品包装优化。

超市中的“千禾0”系列商品
记者走访郑州多家商超发现,“千禾0”系列产品新版包装配料表仅标注基础原料,未含食品添加剂,与“零添加”宣传一致。但“千禾0”商标仍处于包装视觉核心位置,不少消费者坦言,受去年相关事件影响仍对该品牌心存顾虑,商标争议带来的信任影响并未消除。
在电商平台,相关系列产品也在销售。针对“千禾0”是否为注册商标,记者询问了天猫平台千禾旗舰店,相关客服表示:“‘千禾0’是0系列产品的系列标识,主要用于区分公司旗下无食品添加剂系列产品、有食品添加剂系列产品及其他系列,便于消费者识别、选购。”

千禾旗舰店相关客服回应 截图来自淘宝APP
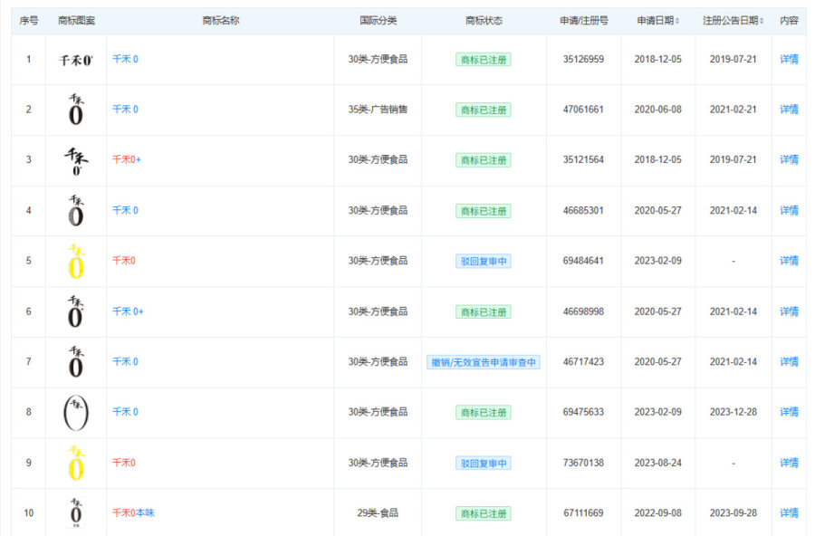
记者在国家知识产权局商标局中国商标网查询发现,的确有多个“千禾0”相关商标被申请注册,申请人为千禾味业食品股份有限公司。天眼查数据显示,该公司有12个“千禾0”相关的商标注册信息,2个显示“驳回复审中”,1个“撤销/无效宣告申请审查中”,2个“等待实质审查”,其余均显示“商标已注册”。


有关“千禾0”的商标信息 截图来自天眼查
其核心商标“千禾0”,在2020年6月8日申请,2021年2月21日就已注册公告,专利使用期限为2021年2月21日至2031年2月20日。
市场调查:合规边界与误导风险并存
连日来,记者走访郑州多家大型商超、社区超市、农贸市场,同时浏览主流电商平台发现,这类商标文字游戏已渗透食品饮料、生鲜农产品、数码配件等多个品类,套路逻辑高度统一:将消费者关注的品质、成分、参数类词汇注册为商标,再通过包装排版模糊商标与产品宣传的边界。
除了“千禾0”商标的酱油,类似的还有汇源100%果汁、壹号土猪肉、白象多半桶方便面、今麦郎1桶半、0添加西梅、120W充电器、一品牛肉干等,其中“汇源100%”“壹号土”“多半桶”“1桶半”“0添加西”“120W”“一品牛”等都是商标。
而这类现象并非全然的“恶意误导”,而是呈现出清晰的两类分野。
第一类是正规品牌的系列商标布局,其产品与宣传一致,但商标具有强引导性。这类商标多为头部品牌申请,产品实际属性与商标传递的信息基本匹配,但商标本身利用消费者阅读习惯形成了强引导。除“千禾0”外,典型案例还包括汇源食品“汇源100%”商标、今麦郎“1桶半”商标、白象“多半袋”系列商标等。


市场上的相关商品
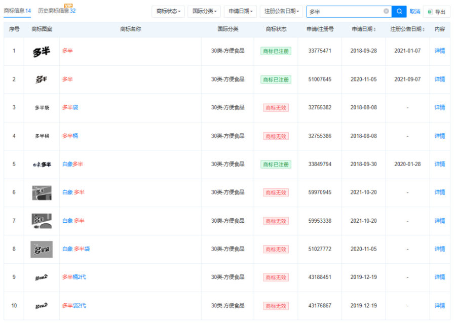
记者在天眼查查询发现,这些商标有的是注册商标,如北京汇源食品饮料有限公司提交16件“汇源100%”相关商标,6件已注册。也有不少因易误导消费者被商标局驳回,如今麦郎食品股份有限公司提交的6件“1桶半”相关商标中,仅1件完成注册,其余均为无效或待审查状态;白象食品股份有限公司24件“多半”相关商标中,大部分被标注为“商标无效”,其中“多半袋”在2018年8月8日注册申请,2019年曾先后三次被驳回复审,相关产品也于2025年改名为“面饼120克”。

白象有关“多半”的商标信息 截图来自天眼查
第二类是恶意擦边的商标申请,刻意制造误导,产品与宣传严重不符。这类商标多为中小商家申请,核心是利用商标规则虚构产品属性,也是消费者维权重灾区。
记者调查发现,乱象主要集中在三个方向:一是成分误导,将“0添加西”注册商标,搭配产品名让消费者误以为无添加,实则配料表含大量相关成分;二是参数误导,将“120W”注册商标标注在充电器上,让消费者误以为支持高功率快充,实则实测功率仅十余瓦;三是产地与品质误导,将“农家土”“树上熟”注册商标,误导消费者对产品品质、产地产生误认。

国家知识产权局商标局中国商标网中,有关“壹号土”的相关商标
更有商家利用仅提交申请的TM标制造误导,如某平台销售的一款发货地在四川的“青藏湖盐”,包装标注“青藏湖”TM标,但当记者询问产地是否为青藏地区时,商家却顾左右而言他,无法证实产品与产地的关联。

青藏湖盐与客户回应
业内人士坦言,即便是正规品牌已注册的系列商标,也存在被滥用的潜在风险,一旦将这类描述性商标用在不符合宣传的产品上,就会直接损害消费者权益。
律师解读:商标误导背后的法律边界与维权路径
这类商标使用行为,到底是合法的商标专用权行使,还是涉嫌虚假宣传、消费欺诈?消费者踩坑后该如何维权?监管层面又该如何整治?记者就此采访了河南臻哲律师事务所高级合伙人张继广律师。
“这类商标使用行为处于合法形式与违法实质的灰色地带,性质需结合实际使用方式综合判断,核心标准是商标的注册和使用,是否足以使普通消费者对商品的核心特点产生错误认识。”张继广律师表示,若商家仅将商标作为品牌标识使用,未刻意强化描述性含义误导消费者,且产品与商标信息一致,属于合法使用;若商家通过排版设计,刻意将商标与产品描述拼接,弱化商标属性、强化品质暗示,使消费者产生误认,即便商标已注册,该使用行为也涉嫌违法。
针对消费者维权,张继广表示,若因商家的误导性商标导致权益受损,消费者可依据《中华人民共和国消费者权益保护法》主张退还货款、“退一赔三”以及索赔其他损失。需要提醒的是,在索赔中取证尤为重要,消费者要注意保留好商品实物、包装、购物凭证(发票、订单截图)、广告宣传页面截图、与商家的沟通记录等。
(来源:大河报)